据appleinsider报道, 美国专利商标局披露了苹果的一项新专利, 名为“为电子设备所设的主动屏幕防护”机制。 为了防止手机因为意外跌落导致的屏幕碎裂或伤害, 苹果描述的这 项专利提了这样一种系统:当手机感知到跌落时, 手机屏幕上方就会自动伸出可伸缩的凸出小装置, 在玻璃和地面之间形成缓冲带。
因为手机摔到地面上是稀松平常的事情, 从一定高度跌落的iPhone, 尤其在屏幕正面着地的时候, 屏幕被破坏是肯定的了, 这大概就是苹果发明这项专利的原因。
这原理也很好理解, 如下图所示, 就是在屏幕上方添加几个可以伸出来的保护片, 当他们都被弹出以后, 即便屏幕正面朝下摔落, 也会在屏幕和坚硬的地面之间形成空隙。 而且专利中描述的这种保护片是会向屏幕内侧弯曲的, 这样也就能更好地起到缓冲效果了。

从描述来看, 这些保护片是在屏幕的边缘位置, 一般状态下保持和屏幕齐平。 这种保护片的材料取决于具体的结构, 苹果在专利中提到, 可弯曲和刚性塑料、聚合物材料、金属或者其他一些材料都是可行的。
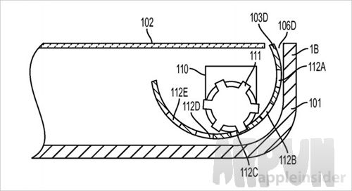
从下面的图片就不难看出, 这是个机械装置, 保护片伸出来靠的是里面的齿轮。 齿轮连接的自然就是驱动马达了, 几个齿轮的转动可以是联动的。

至于感知手机跌落的组件, 拿在现代手机中已经不是什么问题了, 加速计、陀螺仪甚至环境传感器(如高度传感器)都是可以用来作为感知跌落的组成部分的。 不过在这项专利中, 苹果还提到摄像头也可以用来干这活儿, 检测到地面急速靠近的时候自然就是手机在跌落了。 还有像是音频组件能够用来确定高度、速度, 通过超声波脉冲就能达成。
在感知到手机跌落后, 将保护片伸出来, 起到缓冲的效果。 随后系统还会通过传感器来确认跌落运动已经停止。 一旦感知到跌落结束, 机械装置就会将保护片收回去。

苹果之前就表现过对于这种主动跌落防护系统表现出兴趣, 但始终没有应用到实际产品中。 苹果现在主要是在材料上下功夫, 比如最新的iPhone 6s采用能够支持3D Touch的定制型康宁玻璃。 上述这项专利首度提交是在2014年4月份, 发明人Tyson B. Manullang、Stephen B. Lynch以及Emery A. Sanford。














